Nasze Produkty
Profesjonalne urządzenia ciepłownicze najwyższej jakości dla instalacji grzewczych i chłodniczych
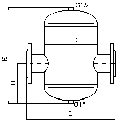
Filtroodmulniki Magnetyczne
FOM-AULIN

Filtroodmulniki magnetyczne przeznaczone do oczyszczania wody w układach grzewczych i chłodniczych z zanieczyszczeń stałych takich jak: rdza, osady, szlam i inne cząstki ferromagnetyczne.
Cechy produktu:
- ✓Bardzo skuteczne usuwanie zanieczyszczeń magnetycznych
- ✓Niskie opory przepływu
- ✓Łatwy montaż i konserwacja
- ✓Materiał: stal węglowa lub nierdzewna
- ✓Ciśnienie robocze do 10 bar
Schematy techniczne:


Dane techniczne:
| dn | przepust | dlug | wys |
|---|---|---|---|
| DN 25 | 0.8 m³/h | 200 mm | 250 mm |
| DN 32 | 1.2 m³/h | 220 mm | 280 mm |
| DN 40 | 2.0 m³/h | 250 mm | 300 mm |
| DN 50 | 3.5 m³/h | 280 mm | 350 mm |
| DN 65 | 5.0 m³/h | 320 mm | 400 mm |
| DN 80 | 8.0 m³/h | 350 mm | 450 mm |
| DN 100 | 12.0 m³/h | 400 mm | 500 mm |
| DN 125 | 18.0 m³/h | 450 mm | 550 mm |
| DN 150 | 25.0 m³/h | 500 mm | 600 mm |
| DN 200 | 40.0 m³/h | 600 mm | 700 mm |
Sprzęgła Hydrauliczne
ASHP-AULIN

Sprzęgła hydrauliczne służą do hydraulicznego rozdzielenia obiegów źródła ciepła i instalacji odbiorczej. Eliminują wzajemne oddziaływanie pomp, stabilizują pracę układu.
Cechy produktu:
- ✓Rozdzielenie hydrauliczne obiegów
- ✓Stabilizacja pracy pomp
- ✓Funkcja odpowietrzania
- ✓Możliwość odłączenia źródła bez zatrzymania instalacji
- ✓Wykonanie z izolacją termiczną
Schematy techniczne:


Dane techniczne:
| dn | moc | przepust | dlug |
|---|---|---|---|
| DN 25 | 25 kW | 1.0 m³/h | 300 mm |
| DN 32 | 40 kW | 1.7 m³/h | 350 mm |
| DN 40 | 65 kW | 2.8 m³/h | 400 mm |
| DN 50 | 100 kW | 4.3 m³/h | 450 mm |
| DN 65 | 150 kW | 6.5 m³/h | 500 mm |
| DN 80 | 200 kW | 8.6 m³/h | 550 mm |
| DN 100 | 300 kW | 12.9 m³/h | 650 mm |
| DN 125 | 450 kW | 19.4 m³/h | 750 mm |
| DN 150 | 600 kW | 25.8 m³/h | 850 mm |
Zbiorniki Wody
Zbiorniki buforowe i wody lodowej

Zbiorniki buforowe i zbiorniki wody lodowej przeznaczone do akumulacji energii cieplnej lub chłodu. Wykonujemy zbiorniki o pojemności od 100 do 10000 litrów.
Cechy produktu:
- ✓Pojemność od 100 do 10000 litrów
- ✓Izolacja termiczna 50-100 mm
- ✓Stal węglowa lub nierdzewna
- ✓Przyłącza według wymagań klienta
- ✓Możliwość wykonania na zamówienie
Schematy techniczne:


Dane techniczne:
| poj | srednica | wys | izolacja |
|---|---|---|---|
| 100 L | Ø 400 mm | 900 mm | 50 mm |
| 200 L | Ø 500 mm | 1100 mm | 50 mm |
| 300 L | Ø 600 mm | 1200 mm | 50 mm |
| 500 L | Ø 700 mm | 1400 mm | 80 mm |
| 800 L | Ø 800 mm | 1600 mm | 80 mm |
| 1000 L | Ø 900 mm | 1700 mm | 80 mm |
| 1500 L | Ø 1000 mm | 2000 mm | 100 mm |
| 2000 L | Ø 1100 mm | 2200 mm | 100 mm |
| 3000 L | Ø 1200 mm | 2700 mm | 100 mm |
| 5000 L | Ø 1400 mm | 3200 mm | 100 mm |
Stabilizatory Temperatury
SCWA-AULIN

Stabilizatory temperatury SCWA służą do utrzymywania stałej temperatury wody zasilającej instalację. Idealne do instalacji z pompami ciepła i kotłami kondensacyjnymi.
Cechy produktu:
- ✓Precyzyjna regulacja temperatury
- ✓Wbudowany zawór trójdrogowy
- ✓Automatyka pogodowa
- ✓Ochrona kotła przed niskotemperaturowym powrotem
- ✓Kompatybilność z pompami ciepła
Schematy techniczne:

Dane techniczne:
| dn | moc | temp | dlug |
|---|---|---|---|
| DN 25 | 30 kW | 20-90°C | 350 mm |
| DN 32 | 50 kW | 20-90°C | 400 mm |
| DN 40 | 80 kW | 20-90°C | 450 mm |
| DN 50 | 120 kW | 20-90°C | 500 mm |
| DN 65 | 180 kW | 20-90°C | 600 mm |
| DN 80 | 250 kW | 20-90°C | 700 mm |
Separatory Powietrza
ASEP-AULIN

Separatory powietrza ASEP skutecznie usuwają powietrze i mikropęcherzyki z instalacji grzewczych i chłodniczych. Zapobiegają korozji i zapowietrzeniu.
Cechy produktu:
- ✓Skuteczne usuwanie mikropęcherzyków
- ✓Automatyczny odpływ powietrza
- ✓Niskie opory przepływu
- ✓Wbudowany zawor odpowietrzający
- ✓Łatwy montaż
Dane techniczne:
| dn | przepust | dlug | wys |
|---|---|---|---|
| DN 25 | 1.2 m³/h | 180 mm | 220 mm |
| DN 32 | 2.0 m³/h | 200 mm | 250 mm |
| DN 40 | 3.5 m³/h | 220 mm | 280 mm |
| DN 50 | 5.5 m³/h | 250 mm | 320 mm |
| DN 65 | 8.0 m³/h | 280 mm | 360 mm |
| DN 80 | 12.0 m³/h | 320 mm | 400 mm |
Konstrukcje Stalowe
Wykonania na zamówienie

Wykonujemy indywidualne konstrukcje stalowe i zbiorniki według dokumentacji klienta lub własnego projektu. Specjalizujemy się w nietypowych rozwiązaniach dla przemysłu.
Cechy produktu:
- ✓Wykonanie według dokumentacji klienta
- ✓Własne biuro projektowe
- ✓Stal węglowa i nierdzewna
- ✓Malowanie proszkowe
- ✓Montaż u klienta